
佳能新35mm f/1.4镜头专利现已公布,日本公开专利号No.2014-202952。相对目前版本,新专利主要强化镜头在微距模式下的成像质量。
No.2014-202952专利详情:
公开日期:2014年10月27日
申请日期:2013年4月5日
从2011年开始,佳能基本上在以一年一份的节奏申请新35mm f/1.4镜头专利,对于目前这款已服役近16年的产品来说,估计有很多人已经望眼欲穿。如果要列一份EF镜头更新名单,EF 35mm f/1.4L USM绝对能排进前三。

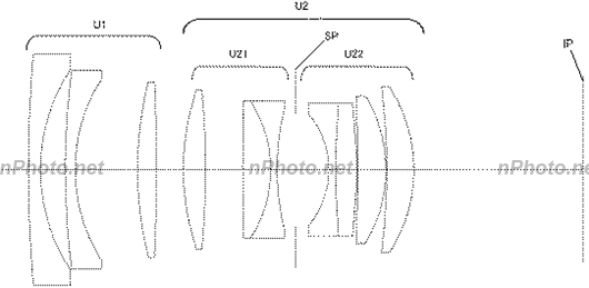
EF 35mm f/1.4L镜头结构
根据现已公布的资料,新镜头针对现有产品所作改进不大,仍然保留浮动对焦系统,但取消了原先第5镜片组(上图红色线框部分),以改善镜头在最近对焦距离位置可能会出现的各项色像差问题。
大致来看,该专利并非换代产品,更像是对新技术进行的尝试,又或者仅仅是为获得法律支持而进行的技术行?;?。
实施例1

焦距:34.20mm
Fno.:1.45
半画角:32.32°
像高:21.64mm
光学全长:129.16mm
后焦距:39.35mm
最近对焦距离:0.3m