qq号免费加妹子,成都ww大圈招聘,全国24小时空降平台网站,约跑同城线下约会


尼康600mm f/4 FL镜头专利公布
 http://www.v0x4.cn 2014-11-18 14:32:30 来源:新摄影网
0

  尼康AF-S尼克尔600mm f/4G ED VR

  尼康正式公布尼克尔600mm f/4 FL镜头专利,日本公开专利号No.2014-211495、No.2014-211496。新镜头加入了FL(氟涂层半月形保护玻璃)镜片,可以有效防止灰尘或水滴在镜片上附着,以增强镜头的耐久性。

  No.2014-211495、No.2014-211496号专利详情

  公开日期:2014年11月13日

  申请日期:2013年4月17日

  发明人:三楠 哲史

  目前尼康AF-S尼克尔400mm f/2.8E FL ED VR和AF-S尼克尔800mm f/5.6E FL ED VR已率先使用氟涂层技术,这种特殊的半月形玻璃不仅可以有效?;ぞ低?,还为用户清洁镜头提供的一定的便利。

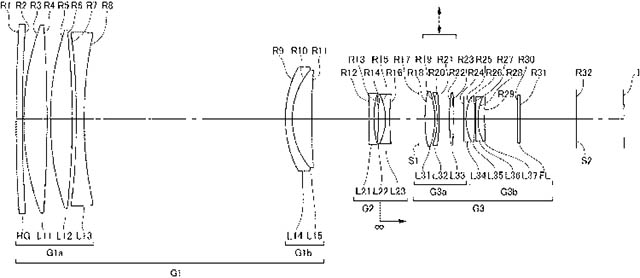
  根据现已公布资料,新镜头采用13组17片光学结构,其中含ED和萤石镜片,内对焦,支持VR防抖。早前已有不少消息表明尼康将逐步更新超长定焦镜头产品线,目前更新计划正有条不紊地进行,或许下一款就是新600定,同时我们也有理由期待着更多镜头贴上FL的标签。

  实施例1

  焦距:587.99mm

  Fno:4.07

  半画角:2.09°

  像高:21.60mm

  光学全长:475.68mm

  镜头结构:13组17片

版权声明:转载须经版权人书面授权并注明来源 [责任编辑: 崔益明 ] [字体: ] [打印] [关闭]
关于我们 - 版权声明 - 联系我们 投稿信箱:cnpressphoto@gmw.cn
京ICP备19055723号  Copyright ©cnpressphoto.com