qq号免费加妹子,成都ww大圈招聘,全国24小时空降平台网站,约跑同城线下约会


索尼新全画幅曲面传感器用35mm大光圈镜头专利公布
 http://www.v0x4.cn 2015-04-07 14:39:12 来源:新摄影网
0

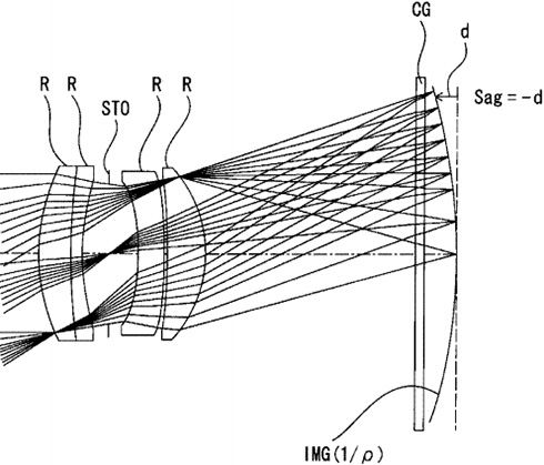
  美国专利商标局No.20150077619号专利公布了一系列索尼新35mm大光圈镜头设计,而且均针对曲面传感器。新专利内镜头规格包括29.96mm f/2.06、36mm f/1.85、36mm f/2.85、36mm f/2.26,这些镜头均有可能会应用于下一代RX系列全画幅相机。另外还有针对1"曲面传感器设计的10.79-25mm f/2.8-5.4。

  先介绍一下专利背景。专利严格使用了“non-planar(非平面)”一词,说明曲面传感器的曲率其实有限,因此不能完全抵消镜头像场弯曲问题。而根据现已掌握的消息,No.20150077619号专利主要探索曲面传感器专用镜头的小型化问题,并在有限的尺寸内提升像场弯曲补偿效果。

  索尼曲面传感器早已不是镜中花水中月,在去年我们已经见过曲面全画幅传感器的实物,后续索尼发布的KW1则将曲面传感器技术推向了商用,现在的问题是,索尼什么时候推出搭载该传感器的全画幅相机。

版权声明:转载须经版权人书面授权并注明来源 [责任编辑: 崔益明 ] [字体: ] [打印] [关闭]
关于我们 - 版权声明 - 联系我们 投稿信箱:cnpressphoto@gmw.cn
京ICP备19055723号  Copyright ©cnpressphoto.com